Sony запатентовала ИИ-призрака для помощи застрявшим игрокам

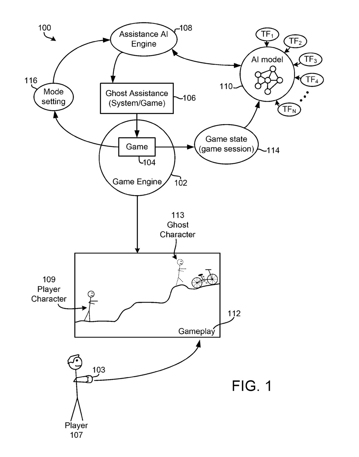
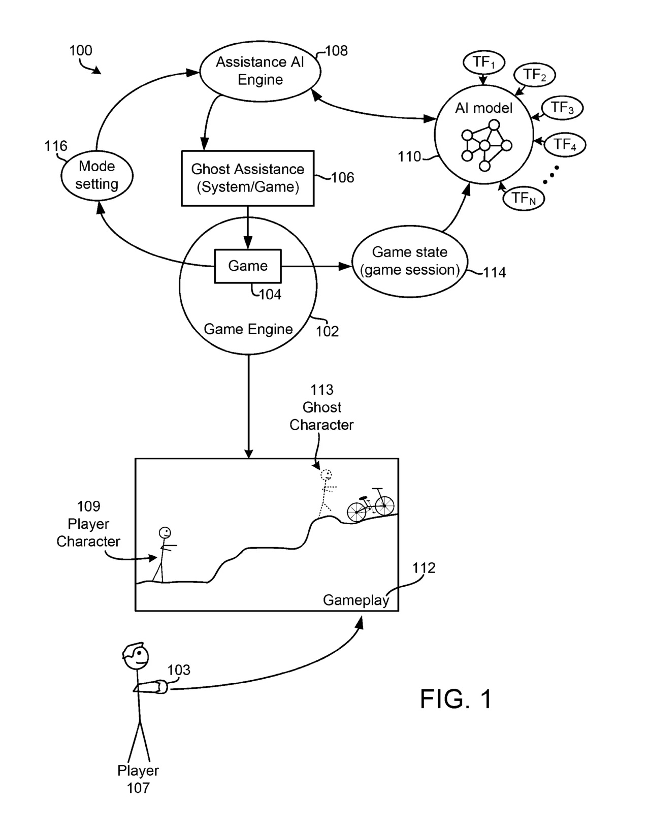
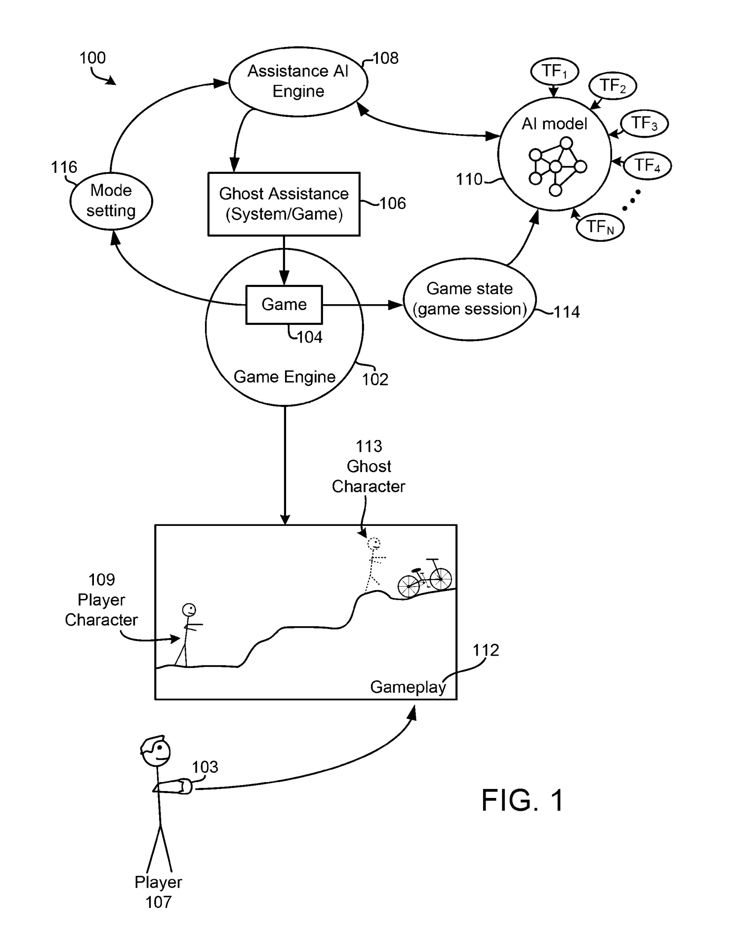
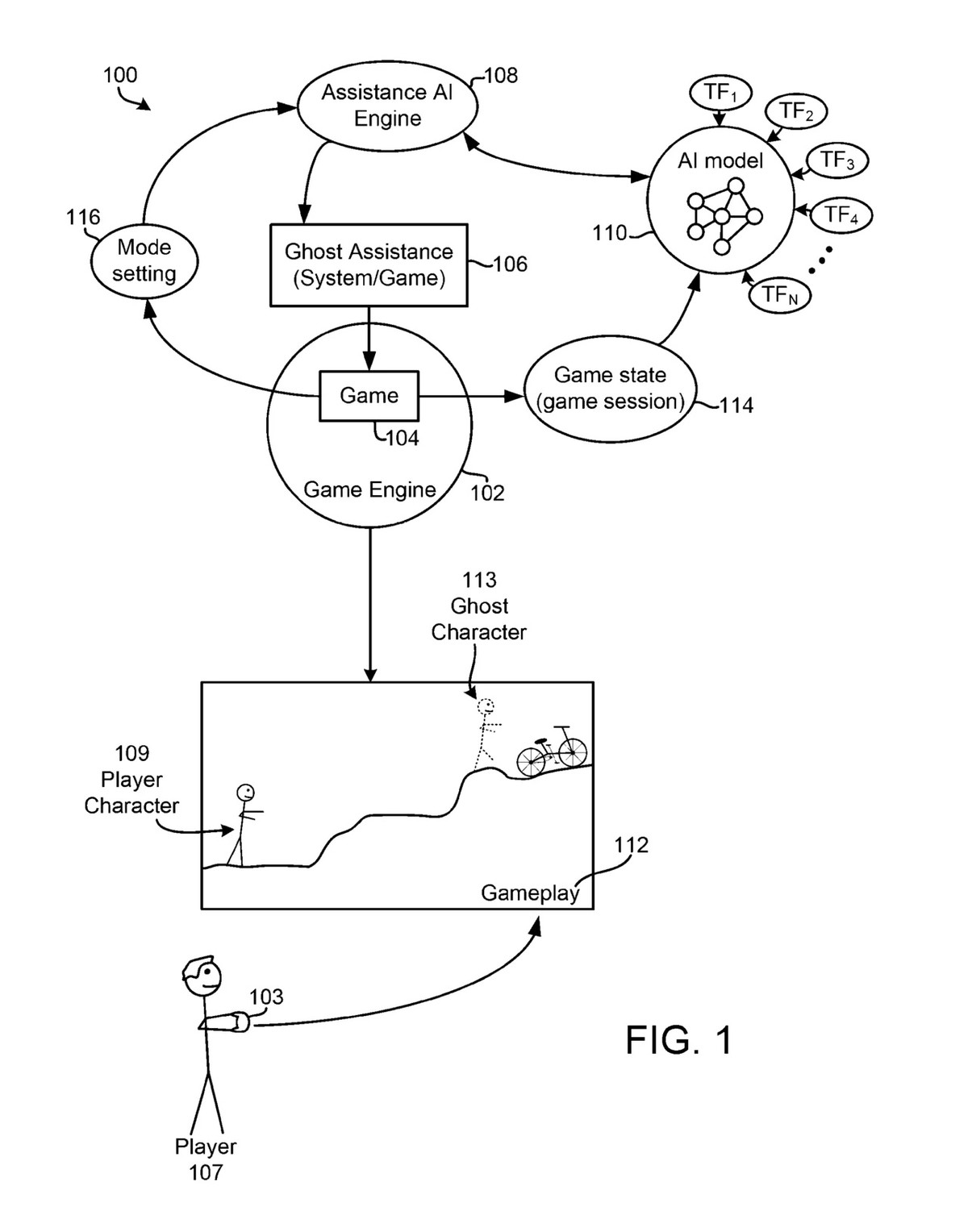
Sony подала патент на ИИ-помощника, который сможет проходить игры за пользователей PlayStation, если те столкнутся с трудностями. Документ был зарегистрирован больше года назад, но лишь недавно привлек внимание изданий allaboutAI и VGC.

Патент описывает систему "наложения" на персонажа игрока. Когда функция активна, виртуальный помощник демонстрирует необходимые действия – показывает решение головоломки или выводит на экран последовательность нажатий кнопок на контроллере. Это позволит игроку продолжить прохождение самостоятельно.

В некоторых случаях ИИ-призрак сможет вести диалог с персонажем пользователя и давать советы о дальнейших действиях. Также система сможет полностью проходить отдельные секции за игрока. Концепция выглядит как развитие функции Game Help на PS5, которая предлагает подсказки через видео и изображения.

В документе описаны четыре режима работы: Story Mode, Combat Mode, Exploration Mode и Full Game Mode. Каждый из них фокусируется на определенном аспекте игры.

Несмотря на прогресс игровых технологий, некоторым игрокам требуется помощь. Игры становятся очень сложными, так что неопытные пользователи часто бросают прохождение или испытывают трудности с выполнением заданий.

Разработчики отмечают, что поиск информации в интернете или просмотр чужих прохождений отнимает время и часто не соответствует текущей ситуации игрока.

Если система станет реальностью, ИИ-помощник будет обучаться на существующих записях прохождений игр для PlayStation.

Помощь в играх – не новшество. PS5 уже получила функцию Game Help, а Microsoft разработала собственный ИИ-инструмент Copilot. Современные игры включают широкий набор функций доступности – от настройки сложности до переназначения кнопок контроллера, режимов для людей с нарушениями цветовосприятия и встроенных систем подсказок.

Использование ИИ в разработке игр остается предметом споров в индустрии. Отчет Unity показал, что 62% студий применяют искусственный интеллект в процессе создания игр – чаще всего для анимации. Опрос GDC выявил, что около трети специалистов отрасли уже используют ИИ-инструменты. А исследование Tokyo Games Show показало, что более половины японских игровых компаний внедрили AI в разработку.

Тэги:

Об авторе

Эксперт по Fallout
Главный редактор
Более 16 лет в индустрии освещения видеоигр, кино, сериалов, науки и техники. Особенно разбираюсь в серии Fallout, ценитель The Elder Scrolls. Поклонник Arcanum и Fallout Tactics. Больше всего играю в Civilization, Old World и градостроители. Изучаю ИИ и загадки космоса.